長沙廣播電視許可證,申請條件及辦理流程指南詳解

長沙廣播電視許可證,申請條件及辦理流程指南詳解
長沙廣播電視許可證,這個資質全稱是《廣播電視節目制作經營許可證》。是長沙市企業經營廣播電視節目必備的資質,包括制作、發行及代理電視劇、網絡劇、廣播劇、綜藝節目、專題片、動畫片等節目類型。長沙有著國內優秀的綜藝節目、電視劇制作團隊。如果您的企業涉及該領域,就來看看下文如何辦理,本文參考湖南政務部門的廣播電視節目制作經營許可證辦理指南,內容更細致具體。
一、《廣播電視節目制作經營許可證》申請條件
1.已委托下放至各市州文化旅游廣電(體育)局、中國(湖南)自由貿易試驗區長沙、岳陽、郴州片區管理委員會、中國(湖南)自由貿易試驗區長沙、岳陽、郴州片區所在縣、市區文化旅游廣電(體育)局、馬欄山視頻文創產業園管委會。
2.具有獨立法人資格,有符合國家法律、法規規定的機構名稱、組織機構和章程;
3.有適應業務范圍需要的廣播電視及相關專業人員和工作場所;
4.在申請之日前三年,其法定代表人無違規記錄或機構無被吊銷過《廣播電視節目制作經營許可證》的記錄;
5.法律、行政法規規定的其它條件。
二、《廣播電視節目制作經營許可證》辦理流程
1、受理。按照許可的法定條件、標準,查驗申請材料是否齊全、符合法定形式,申請事項是否屬于行政的職權范圍,許可申請是否在法律、法規規定的期限內提出,申請人是否具有申請資格;決定是否受理。同時,根據《行政許可法》第三十二條的規定分別作出處理: 1、申請事項依法不需要取得行政許可的,應當即時告知申請人不予受理; 2、申請事項依法不屬于本行政機關職權范圍的,應當即時作出不予受理的決定,并告知申請人向有關行政機關申請; 3、申請材料存在可以當場更正的錯誤的,應當允許申請人當場更正; 4、申請材料不齊全或者不符合法定形式的,應當當場或者在五日內一次性告知申請人需要補正的全部內容,逾期不告知的,自收到申請材料之日起即為受理; 5、申請事項屬于本行政機關職權范圍,申請材料齊全、符合法定形式,或者申請人按照本行政機關的要求提交全部補正申請材料的,應當受理行政許可申請; 6、受理或者不予受理行政許可申請,應當出具加蓋本行政機關專用印章和注明日期的書面憑證。
2、初審。1、分管此項業務的負責人按照標準對已受理的申報資料進行初審; 2、對符合標準的寫出同意的意見和理由,并報傳媒機構管理處處長; 3、對不符合標準的寫出不同意的意見和理由后退回受理人。
3、審核。1、傳媒機構管理處處長按照標準對申報材料及初審意見進行復審; 2、對符合標準的在審批表上寫出同意的意見,并報主管此項業務的局領導; 3、對不符合標準的,在審批表上寫出不同意的意見和理由后退回受理人員。
4、審批。1、分管此項業務的局領導按照標準對已經職能處室復審的申報材料進行審定; 2、對符合標準的在審批表上簽署同意的意見; 3、對不符合標準,在審批表上簽署不同意的意見和理由后退回職能處室。
5、辦結。1、許可項目承辦人制作許可文書交局政務服務中心,窗口工作人員通知申請人辦理有關手續。 2、對不予行政許可的,向申請人發出不予行政許可決定書,并說明理由,同時告知申請人享有依法申請行政復議或提起行政訴訟的權利。 3、對準予行政許可的,向申請人發出行政許可決定書等許可文書。 4、按照檔案管理規定將材料整理歸檔。
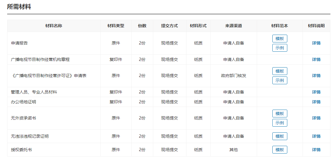
三、《廣播電視節目制作經營許可證》申請材料

四、《廣播電視節目制作經營許可證》辦理地點
長沙市天心區銀杏路6號政務服務大廳一樓A01-A02窗口
辦理時間
法定工作日,上午9:00-12:00;下午1:30-5:00,周末及節假日休息。
綜上所述,本篇內容介紹了長沙廣播電視許可證,申請條件及辦理流程指南詳解。如果您還有廣播電視節目制作經營許可證辦理的其他問題或想辦理,請聯系大通天成在線客服。也可以撥打我們的電話13391522356
-
25年北京承裝(修、試)電力設施許可證政策變化、申請條件要求
-
陜西軟件行業等保備案申請條件、材料、流程及注意事項(初學者指南)
-
25年遼寧無人機航拍申請無人機經營許可證指南:流程、條件、材料全解析
-
遼寧全網CDN許可證申請指南,2025年辦理條件流程條件及注意事項
-
上海在線交易平臺申請ICP許可證初學者指南,辦理條件、材料、流程
-
25年承裝(修、試)電力設施許可證新辦等級、條件要求詳解
-
浙江高新企業技術認定辦理攻略,申請條件 材料 流程 政策指引
-
山西線上圖書申請出版物經營許可證,25年電商辦理條件+材料攻略
-
2025年甘肅招聘APP申請人力資源許可證,辦理條件+材料+流程+政策依據
-
廣西在線交易平臺申請ICP許可證,如何準備材料條件政策指引
-
承裝(修、試)電力設施許可證25年三大改變,如何快速申請,避坑指南
-
上海專精特新申請指南,流程 條件 材料及政策指引
-
26年天津高新技術企業認定指南,基礎條件+材料+政策要求
-
上海音樂網絡文化經營許可證如何辦理?申請條件+材料+流程指引
-
石家莊短劇資質廣播電視節目制作經營許可證申請指南
-
西安廣告傳媒必看:廣播電視節目制作經營許可證5步辦理全攻略
-
大連影視公司申請廣播電視節目制作經營許可證全攻略,材料條件清單
-
什么是廣播電視節目制作經營許可證?25年怎么辦理一文講清楚!
-
25年微短劇 短劇 電視劇 綜藝節目 專題片資質辦理
-
廣播電視節目制作經營許可證怎么辦理?微短劇電視劇資質申請指南
-
拍電視劇辦理廣播電視節目制作經營許可證,24年12月最新政策介紹
-
25年廣播電視節目制作經營許可證年審年檢辦理詳細介紹
-
長春廣播電視節目制作經營許可證續期怎么辦理,延續申請條件及流程指南
-
南寧廣播電視節目制作經營許可證怎么辦理,申請條件、流程、材料最新指南
-
廣西廣播電視節目制作經營許可證續期怎么辦理,柳州桂林北海市延續申請條件及流程
-
濟南廣播電視節目制作經營許可證續期怎么辦理,歷下市中槐蔭區延續申請條件及流程
-
廈門廣播電視節目制作經營許可證續期怎么辦理,思明湖里集美區延續申請條件
-
南京廣播電視節目制作經營許可證續期怎么辦理,玄武秦淮區延續申請條件及流程
