長沙廣播電視節目制作許可證,廣電局申請材料條件指南
更新時間:2025-11-02 12:36 | 發布時間:2年前 | 文章欄目:影視資質

長沙廣播電視節目制作許可證,廣電局申請材料條件指南
長沙廣播電視節目制作許可證,是長沙市企業開辦電視劇、廣播劇、網絡劇、綜藝節目、動畫片等制作、代理發行的資質,全稱是廣播電視節目制作經營許可證。湖南可是我國廣播電視最前沿的省,綜藝、電視劇都是有高端的制作團隊,那您的企業想要入行,就需要辦理廣播電視節目制作許可證,今天小編就結合湖南省廣播電視局關于廣播電視節目制作經營單位設立審批指南,供您參考。
一、廣播電視節目制作經營許可證受理條件
1.已委托下放至各市州文化旅游廣電(體育)局、中國(湖南)自由貿易試驗區長沙、岳陽、郴州片區管理委員會、中國(湖南)自由貿易試驗區長沙、岳陽、郴州片區所在縣、市區文化旅游廣電(體育)局、馬欄山視頻文創產業園管委會。 2.具有獨立法人資格,有符合國家法律、法規規定的機構名稱、組織機構和章程; 3.有適應業務范圍需要的廣播電視及相關專業人員和工作場所; 4.在申請之日前三年,其法定代表人無違規記錄或機構無被吊銷過《廣播電視節目制作經營許可證》的記錄; 5.法律、行政法規規定的其它條件。
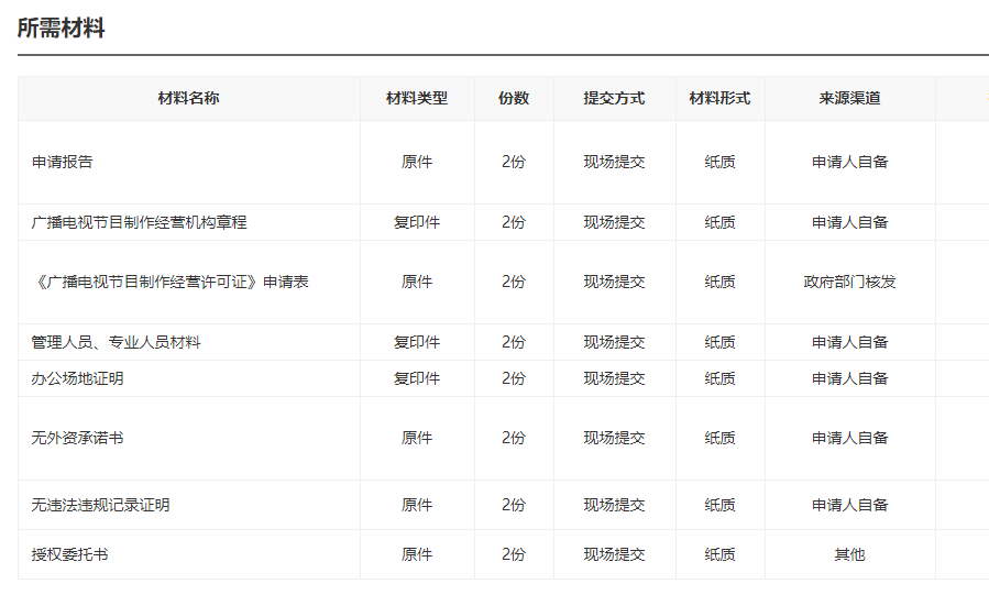
二、長沙廣播電視節目制作經營許可證辦理材料
三、長沙廣播電視節目制作經營許可證辦理地址
長沙市天心區銀杏路6號政務服務大廳一樓A01-A02窗口
綜上所述,本篇內容介紹了長沙廣播電視節目制作許可證,廣電局申請材料條件指南如果您還有廣播電視節目制作經營許可證辦理的其他問題或想辦理,請聯系大通天成在線客服。也可以撥打我們的電話13391522356
最新文章
-
25年北京承裝(修、試)電力設施許可證政策變化、申請條件要求
-
陜西軟件行業等保備案申請條件、材料、流程及注意事項(初學者指南)
-
25年遼寧無人機航拍申請無人機經營許可證指南:流程、條件、材料全解析
-
遼寧全網CDN許可證申請指南,2025年辦理條件流程條件及注意事項
-
上海在線交易平臺申請ICP許可證初學者指南,辦理條件、材料、流程
-
25年承裝(修、試)電力設施許可證新辦等級、條件要求詳解
-
浙江高新企業技術認定辦理攻略,申請條件 材料 流程 政策指引
-
山西線上圖書申請出版物經營許可證,25年電商辦理條件+材料攻略
-
2025年甘肅招聘APP申請人力資源許可證,辦理條件+材料+流程+政策依據
-
廣西在線交易平臺申請ICP許可證,如何準備材料條件政策指引
-
承裝(修、試)電力設施許可證25年三大改變,如何快速申請,避坑指南
-
上海專精特新申請指南,流程 條件 材料及政策指引
-
26年天津高新技術企業認定指南,基礎條件+材料+政策要求
-
上海音樂網絡文化經營許可證如何辦理?申請條件+材料+流程指引
相關文章
-
石家莊短劇資質廣播電視節目制作經營許可證申請指南
-
西安廣告傳媒必看:廣播電視節目制作經營許可證5步辦理全攻略
-
大連影視公司申請廣播電視節目制作經營許可證全攻略,材料條件清單
-
什么是廣播電視節目制作經營許可證?25年怎么辦理一文講清楚!
-
25年微短劇 短劇 電視劇 綜藝節目 專題片資質辦理
-
廣播電視節目制作經營許可證怎么辦理?微短劇電視劇資質申請指南
-
拍電視劇辦理廣播電視節目制作經營許可證,24年12月最新政策介紹
-
25年廣播電視節目制作經營許可證年審年檢辦理詳細介紹
-
長春廣播電視節目制作經營許可證續期怎么辦理,延續申請條件及流程指南
-
南寧廣播電視節目制作經營許可證怎么辦理,申請條件、流程、材料最新指南
-
廣西廣播電視節目制作經營許可證續期怎么辦理,柳州桂林北海市延續申請條件及流程
-
濟南廣播電視節目制作經營許可證續期怎么辦理,歷下市中槐蔭區延續申請條件及流程
-
廈門廣播電視節目制作經營許可證續期怎么辦理,思明湖里集美區延續申請條件
-
南京廣播電視節目制作經營許可證續期怎么辦理,玄武秦淮區延續申請條件及流程
